1. 測試儀器
采用數顯式粘接強度檢測儀 (圖1-1) 。
儀器最大拉拔力: 10t, 顯示數據單位kPa, 可顯示拉拔力峰值。
頂部拉拔板 (圖1-2) 尺寸: 100×100×9mm。

圖1-1 圖1-2
2. 判斷標準
GB/T 28627-2012 《抹灰石膏》拉伸粘結強度不應小于0.3MPa
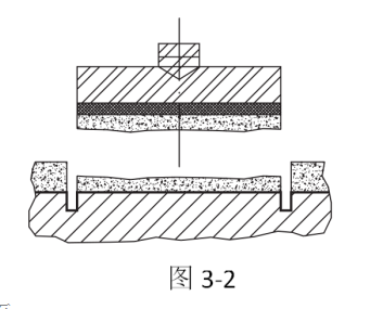
3. 檢測方法及有效性判定
根據JGJ/T220-2010 《抹灰砂漿技術規程》 附錄A給定的抹灰砂漿現場拉伸粘結強度試驗方法執行。 具體如下:
1) 當破壞發生在抹灰砂漿與基層連接界面時,檢測結果可認定為有效,見圖3-1。
2) 當破壞發生在抹灰砂漿層內時,檢測結果可認定為有效,見圖3-2。
3) 當破壞發生在基層內,檢測數據大于或等于粘結強度規定值時,檢測結果可認定為有效;試驗數據小于粘結強度規定值時,檢測結果應認定為無效,見圖3-3。
4) 當破壞發生在粘結層,檢測數據大于或等于粘結強度規定值時,檢測結果可認定為有效;檢測數據小于粘結強度規定值時,檢測結果應認定為無效,見圖3-4。
河南潔源新型建筑材料有限公司是一家專業從事工業固體廢棄物資源化綜合利用和石膏基建材料研發、生產、銷售和施工為一體的高科技企業,河南省脫硫石膏深加工企業、全國石膏行業優秀企業、石膏協會副理事長單位、18項核心技術專利、三項行業標準修訂主編單位、萬科A級供應商。
所生產的輕質抹灰石膏ph值接近中性,對人體無害。且生產過程中所有添加劑均為環保物質,不會釋放甲醛等揮發性有機物。
新潔源石膏基自流平是一種新型環保建筑材料,主要用于不平基底,形成一個合適的、平整光滑的、堅固的鋪墊基底,以架設各種地板材料,例如地板、PVC、瓷磚等精找平材料。